| 
    
    
	
	
    - Parts > Mazda PREMACY > 1999-03 > Diesel-engine Supplement > Inter Cooler(diesel)(w/o On-board Diagnosis)
 
- Search by part number:
 
- 
Inter Cooler(diesel)(w/o On-board Diagnosis)
 - 
		
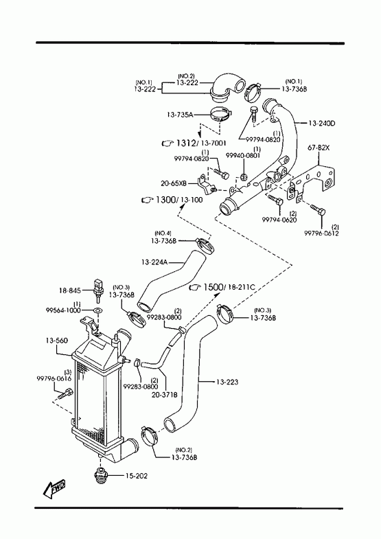
» 13222 HOSE,AIR INTAKE Part Number Qty. Specifications Price RF2G13222C 1 AN (RF2G-13-222D) 
ILLUST. NO.2
- 990820
CP19** -112498€ 90,80 RF2G13222D 1 ILLUST. NO.2 
990820 -
CP19**112498-RF3H1322X 1 AN (RF3H-13-22XA) 
ILLUST. NO.1
- 990820
CP19** -112498€ 91,70 RF3H1322XA 1 ILLUST. NO.1 
990820 -
CP19**112498-€ 95,40 » 13223 HOSE,AIR INTAKE-I/COOLER Part Number Qty. Specifications Price RF3F13223B 1 € 103,76 » 13224A HOSE,AIR INTAKE-IN.COOLER Part Number Qty. Specifications Price RF3F13224A 1 € 58,87 » 13240D PIPE,AIR INTAKE Part Number Qty. Specifications Price RF3F1324XB 1 € 146,36 » 13560 COOLER,INTER Part Number Qty. Specifications Price RF3F13565B 1 € 423,43 » 13735A CLAMP,HOSE Part Number Qty. Specifications Price RF3H13735 1 € 6,76 » 13736B CLAMP,HOSE Part Number Qty. Specifications Price N39013785 1 ILLUST. NO.4 € 12,44 RF2G13736A 1 ILLUST. NO.1 € 9,02 RF3F13736 1 ILLUST. NO.2 € 11,63 RF3H13736 2 ILLUST. NO.3 € 11,63 » 15202 RUBBER,MOUNT Part Number Qty. Specifications Price RF2L15202 1 € 9,56 » 18845 SENSOR,IN.AIR TEMP Part Number Qty. Specifications Price N3A118845 1 € 69,98 » 20371B TUBE,VACUUM Part Number Qty. Specifications Price KLG420371 1 € 5,45 » 2065XB BRACKET,AIR PIPE Part Number Qty. Specifications Price RF3F2065X 1 € 6,94 » 67B2X BRACKET,HARNESS Part Number Qty. Specifications Price BJ6J67B2XA 1 AN (BJ6J-67-B2XB) € 28,82 » 90906 NUT,FLANGE Part Number Qty. Specifications Price 999400801 1 € 1,64 » 99281 CLAMP,HOSE Part Number Qty. Specifications Price 992830800 1 € 1,32 » 99560 GASKET Part Number Qty. Specifications Price 995641000 1 € 2,00 » 99756 BOLT,FLANGE Part Number Qty. Specifications Price 997940620 1 € 3,14 » 99756 BOLT,FLANGE Part Number Qty. Specifications Price 997940820 1 € 1,24 » 99756 BOLT,FLANGE Part Number Qty. Specifications Price 997960612 1 € 0,69 » 99756 BOLT,FLANGE Part Number Qty. Specifications Price 997960616 1 € 0,81  

