|
- Parts > Mazda MX-5 > 2002-08 > Gasoline-engine 4-cylinder Transmission > Manual Transmission Change Control System(5-speed)
- Search by part number:
-
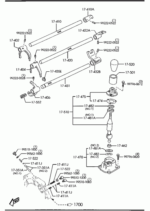
Manual Transmission Change Control System(5-speed)
-
» 17351A PIN,INTER LOCK Part Number Qty. Specifications Price 011417351 2 ILLUST. NO.2 € 2,12 R50117351 1 ILLUST. NO.1 € 3,06 » 17402 FORK,SHIFT (1ST & 2ND) Part Number Qty. Specifications Price M50317402 1 € 26,59 » 17404 FORK,SHIFT (3RD & 4TH) Part Number Qty. Specifications Price M50117404D 1 € 30,29 » 17406 FORK,SHIFT-5TH & REVERSE Part Number Qty. Specifications Price M50417406A 1 € 29,69 » 17410 ROD,SHIFT(1ST&2ND) Part Number Qty. Specifications Price M50317411 1 € 25,48 » 17410A END,S/ROD(1ST&2ND) Part Number Qty. Specifications Price M50917412A 1 € 22,59 » 17411A SPRING,SHIFT ROD-REVERSE Part Number Qty. Specifications Price 001417411 2 € 0,42 » 17411J BALL,STEEL Part Number Qty. Specifications Price 996112500 4 € 1,23 » 17420 ROD,SHIFT(3RD&4TH) Part Number Qty. Specifications Price M50417421A 1 € 27,73 » 17422A END,S/ROD(3RD&4TH) Part Number Qty. Specifications Price M50917422A 1 € 26,97 » 17431 ROD,SHIFT-OVER TOP & REVERSE Part Number Qty. Specifications Price M50617431A 1 € 19,68 » 17432B END,SHIFT ROD(O/TOP&REV.) Part Number Qty. Specifications Price M51117432A 1 € 32,57 » 17435E RING,RETAINING Part Number Qty. Specifications Price R50217435 1 € 1,25 » 17462 SHEET,SPRING Part Number Qty. Specifications Price 039817462A 1 € 4,21 » 17470 CASE,CHANGE CONTROL Part Number Qty. Specifications Price M51317470 1 € 41,34 » 17474 GASKET,COVER PLATE Part Number Qty. Specifications Price 030317474 1 € 2,04 » 17475 BOOT,DUST-CHANGE LEVER Part Number Qty. Specifications Price M51317480A 1 € 23,87 » 17481A BUSH,CHANGE Part Number Qty. Specifications Price R50217492 1 ILLUST. NO.1 € 6,90 R50317492 1 ILLUST. NO.2 € 6,90 » 17482 WASHER,WAVE-CHANGE CONT.CASE Part Number Qty. Specifications Price 859917482 1 ILLUST. NO.2 € 4,90 M50517482 1 ILLUST. NO.1 € 2,92 » 17501 INSULATOR Part Number Qty. Specifications Price M50117501 1 € 1,93 » 17510 LEVER,CHANGE Part Number Qty. Specifications Price M52817510A 1 € 75,37 » 17520 KNOB,CHANGE LEVER Part Number Qty. Specifications Price M52317520 1 SHIFT-KNOB-URETHANE
(1600>NOR. SUSP)
1800€ 26,59 M52817520B 1 BLACK STITCH
SHIFT KNOB-LEATHER:TYPE A€ 117,95 M52917520 1 SHIFT-KNOB-WOOD € 218,56 M53317520 1 BLACK STITCH
SHIFT KNOB-LEATHER:TYPE B-BLACK/BLUE
021201 -
NB18**306852-€ 149,64 M53417520 1 BLACK STITCH
SHIFT KNOB-LEATHER:TYPE B-BLACK/GRAY
021201 -
NB18**306852-€ 149,64 » 17522 SPRING Part Number Qty. Specifications Price 010317411 2 € 1,13 » 17552 SPRING Part Number Qty. Specifications Price M50517552 1 € 2,70 » 99222 PIN,SPRING Part Number Qty. Specifications Price 992220522 1 € 1,54 » 99222 PIN,SPRING Part Number Qty. Specifications Price 992220528 1 € 1,54 » 99305 PLUG Part Number Qty. Specifications Price 995101000 1 € 1,17 » 99560 GASKET Part Number Qty. Specifications Price 995621000 1 € 2,06 » 99756 BOLT,FLANGE Part Number Qty. Specifications Price 997960612 1 € 0,69 » 99756 BOLT,FLANGE Part Number Qty. Specifications Price 997960820 1 € 1,22

