Windshield Washer |
- Parts > Mazda MPV > 2003-09 > Body Electronics > Windshield Washer
- Search by part number:
-
Windshield Washer
-
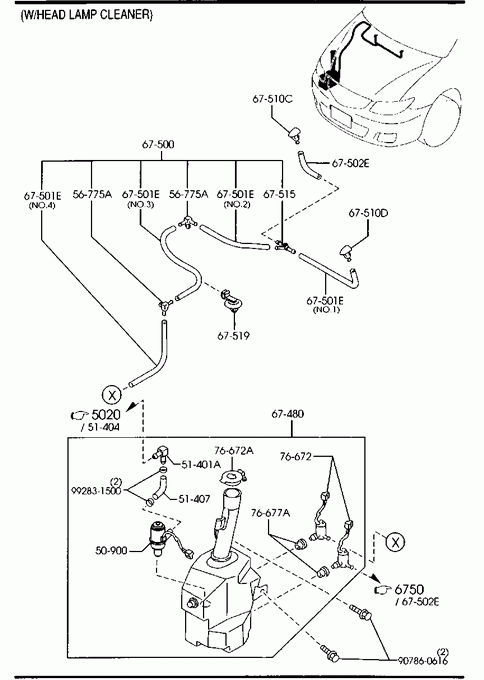
» 50900 TANK & MOTOR,WASHER Part Number Qty. Specifications Price LC6451811 1 W/HEAD LAMP CLEANER » 51401A VALVE,CHECK Part Number Qty. Specifications Price LC6451401 1 W/HEAD LAMP CLEANER » 51407 JOINT Part Number Qty. Specifications Price H00550902 1 W/HEAD LAMP CLEANER € 10,10 » 56775A CLIP,WASHER HOSE Part Number Qty. Specifications Price M02067505 2 € 4,74 » 67480 TANK,WASHER-FRONT Part Number Qty. Specifications Price LE4367480 1 (W/O HEAD LAMP CLEANER>FRT. WASHER TANK STD.) € 144,45 LE4467480 1 (W/O HEAD LAMP CLEANER>FRT. WASHER TANK LARGE) LE5467480 1 W/HEAD LAMP CLEANER € 460,31 » 67500 PIPE Part Number Qty. Specifications Price LC6567500D 1 AN (LC65-67-500E)
- 050417
LW19** -309575LC6567500E 1 050417 -
LW19**309575-€ 13,69 » 67501E PIPE,NOZZLE-FRONT WASHER Part Number Qty. Specifications Price LC6267501A 1 ILLUST. NO.1 € 1,34 LC6367501 1 ILLUST. NO.2 € 1,71 LC6467501A 1 AN (LC64-67-501B)
ILLUST. NO.3
- 050417
LW19** -309575€ 3,03 LC6467501B 1 ILLUST. NO.3
050417 -
LW19**309575-LC6967501B 1 ILLUST. NO.4 € 4,15 » 67502E JOINT,ELBOW-W.TANK Part Number Qty. Specifications Price S08467502 1 € 5,21 » 67510C NOZZLE(R),WASHER Part Number Qty. Specifications Price LE4467510 1 € 6,65 » 67510D NOZZLE(L),WASHER Part Number Qty. Specifications Price LE4367510 1 € 6,65 » 67515 CLIP Part Number Qty. Specifications Price GA2A67505 1 € 6,66 » 67519 CLIP,PIPE Part Number Qty. Specifications Price B09267519A 1 € 1,71 » 76672 PUMP,WASHER Part Number Qty. Specifications Price S08476672 2 € 42,38 » 76672A CAP,TANK Part Number Qty. Specifications Price UB3951815 1 € 3,58 » 76677A GROMMET,WASHER TANK Part Number Qty. Specifications Price S08476677 2 € 3,45 » 90786 SCREW & WASHER,TAPPING Part Number Qty. Specifications Price 907860616 1 € 2,41 » 99281 CLAMP,HOSE Part Number Qty. Specifications Price 992831500 1 € 1,50

