|
- Parts > MAZDA 3 > 2006-03 > Body Interior Trim > Seat Belts(4-door)
- Search by part number:
-
Seat Belts(4-door)
-
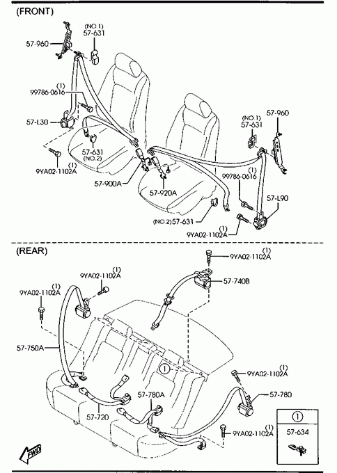
» 57631 COVER,ANCHOR Part Number Qty. Specifications Price BP4K57631A 2 ILLUST. NO.1 BP4L57631A 2 ILLUST. NO.2 » 57634 ANCHOR,SEAT BELT Part Number Qty. Specifications Price GJ6A5777ZA 3 » 57720 BELT'A'(R),REAR SEAT Part Number Qty. Specifications Price BPYK57720 1 ISRAEL BR5S57720B 1 ECE » 57740B BELT(C),RR SEAT Part Number Qty. Specifications Price BN8V57740B 1 ISRAEL BS4J57740A 1 ECE » 57750A BELT'B'(R),REAR SEAT Part Number Qty. Specifications Price BN8W57730 1 ISRAEL BS4J57730 1 ECE » 57780 BELT'B'(L),REAR SEAT Part Number Qty. Specifications Price BN8W57790 1 ISRAEL BS4J57790 1 ECE » 57780A BELT'A'(L),REAR SEAT Part Number Qty. Specifications Price BPYK57780 1 ISRAEL BR5S57780B 1 ECE » 57900A BELT'A'(R),FRT SEAT Part Number Qty. Specifications Price BR9E57620A 1 ECE
- 070911
BK1*** -672381BRYE57620 1 ECE
070911 -
BK1***672381-BS1A57620 1 ISRAEL
- 071001
BK1*** -681113BS1A57620A 1 ISRAEL
071001 -
BK1***681113-» 57920A BELT'A'(L),FRT SEAT Part Number Qty. Specifications Price BR9E57680A 1 - 070911
BK1*** -672381BRYE57680 1 070911 -
BK1***672381-» 57960 ADJUSTER,SHOULDER Part Number Qty. Specifications Price BP4K57960B 2 » 57L30 BELT'B'(R),PRETENSIONER Part Number Qty. Specifications Price BR5S57L30 1 - 060501
BK1*** -506904BR5S57L30A 1 060501 -
BK1***506904-» 57L90 BELT'B'(L),PRETENSIONER Part Number Qty. Specifications Price BR5S57L90 1 - 060501
BK1*** -506904BR5S57L90A 1 060501 - 060509
BK1***506904-507457BR5S57L90B 1 060509 -
BK1***507457-» 90780 BOLT Part Number Qty. Specifications Price 9YA021102A 1 € 2,38 » 99175 SCREW,TAPPING Part Number Qty. Specifications Price 997860616 1 € 1,54

