|
- Parts > MAZDA 3 > 2006-03 > Gasoline-engine 4-cylinder Transmission > Automatic Transmission Case & Main Control System(2000cc)
- Search by part number:
-
Automatic Transmission Case & Main Control System(2000cc)
-
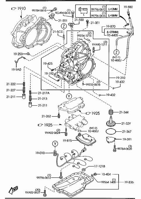
» 10404 PLUG,DRAIN Part Number Qty. Specifications Price HE0310404 1 € 2,18 » 10460J RING,'O' Part Number Qty. Specifications Price 9954101201 1 ILLUST. NO.1 € 2,06 9954102206 1 ILLUST. NO.2 € 3,28 » 17121B MAGNET Part Number Qty. Specifications Price F40117121 1 € 7,17 » 19010 HARNNESS,SOLENOID Part Number Qty. Specifications Price FN2119010 1 € 57,96 » 19192 PLUG,CONV.HOUSING Part Number Qty. Specifications Price FU6019192A 1 € 1,23 » 19253 PLUG,OIL CHECK Part Number Qty. Specifications Price FN0119253 1 € 0,94 » 19310 CASE,T/MISSION Part Number Qty. Specifications Price FNK119420 1 € 509,69 » 19391 RETAINER,SERVO Part Number Qty. Specifications Price FN0121331 1 € 7,80 » 19423 PLUG Part Number Qty. Specifications Price FU3119423 3 € 1,19 » 19432 RING,'O' Part Number Qty. Specifications Price FN0119432 3 € 1,12 » 19815 STRAINER,OIL Part Number Qty. Specifications Price FN0121500 1 € 23,84 » 19836 PAN,OIL Part Number Qty. Specifications Price FN112151X 1 € 21,43 » 19870 TUBE,OIL LEVEL Part Number Qty. Specifications Price FNK11987X 1 » 19880 GAUGE,OIL LEVEL Part Number Qty. Specifications Price FNK119880A 1 » 199A0 PIPE,OIL-OILPUMP Part Number Qty. Specifications Price FN01199A1B 1 € 12,35 » 21211 PISTON,N/D ACCUM Part Number Qty. Specifications Price FN0121211 2 € 8,42 » 21213 SPRING,N/D ACCUM Part Number Qty. Specifications Price FN0121213 1 € 2,41 » 21217A SPRING,N/D ACCUM Part Number Qty. Specifications Price FNE121217 1 » 21222 SPRING,ACCUM 1-2 Part Number Qty. Specifications Price FN1121222 1 » 21227 SPRING,ACCUM 1/2 Part Number Qty. Specifications Price FN1121227 1 » 21262 BOLT Part Number Qty. Specifications Price FU6121262 11 € 0,47 » 2132Y PISTON,SERVO Part Number Qty. Specifications Price FN112132Y 1 € 26,90 » 21344 SPRING,RETURN-SERVO Part Number Qty. Specifications Price FN0121344 1 € 3,00 » 21367 SEAL,'O'RING Part Number Qty. Specifications Price FN0121342 1 € 2,75 » 213E1 STRUT,BAND Part Number Qty. Specifications Price FN11213E1 1 L=36.0MM FN11213E2 1 L=36.5MM FN11213E3 1 L=37.0MM FN11213E4 1 L=37.5MM FN11213E5 1 L=38.0MM FN11213E6 1 L=38.5MM
- 070101
BK1*** -586430FN11213E7 1 L=39.0MM
- 070101
BK1*** -586430FN11213E9 1 L=37.25MM FN11213F1 1 L=37.75MM FN11213F2 1 L=38.25MM FN11213F3 1 L=36.25MM
070101 -
BK1***586430-FN11213F4 1 L=36.75MM
070101 -
BK1***586430-» 21550 GENERATOR,PULSE Part Number Qty. Specifications Price FN0121550 1 € 28,41 » 21551 SENSOR,SPEED Part Number Qty. Specifications Price FN1221551A 1 € 68,98 » 215C0 BREATHER Part Number Qty. Specifications Price FW02215C1 1 € 2,72 » 90780 BOLT Part Number Qty. Specifications Price 9G4940616 1 € 0,49 » 90780 BOLT Part Number Qty. Specifications Price 9YA020624 1 € 1,95 » 90780 BOLT Part Number Qty. Specifications Price 9YA020627 1 € 2,06 » 90857 STUD Part Number Qty. Specifications Price 9YA901211 1 » 934405 HOSE Part Number Qty. Specifications Price 9934405150 1 L=1.5M CUT IT TO USE € 113,89 » 99220 PIN Part Number Qty. Specifications Price 992330616 1 € 1,15 » 99234 PIN,TUBULAR Part Number Qty. Specifications Price 992341216 1 » 99560 GASKET Part Number Qty. Specifications Price 995641400 1 € 1,19 » 99756 BOLT,FLANGE Part Number Qty. Specifications Price 997840616 1 € 1,50 » 99756 BOLT,FLANGE Part Number Qty. Specifications Price 997840620 1 € 2,13 » 99756 BOLT,FLANGE Part Number Qty. Specifications Price 997960612 1 € 0,69 » 99756 BOLT,FLANGE Part Number Qty. Specifications Price 997960616 1 € 0,81

