|
- Parts > MAZDA 3 > 2006-03 > Gasoline-engine 4-cylinder Transmission > Piston, Crankshaft & Flywheel(gasoline)(1300cc & 1600cc)
- Search by part number:
-
Piston, Crankshaft & Flywheel(gasoline)(1300cc & 1600cc)
-
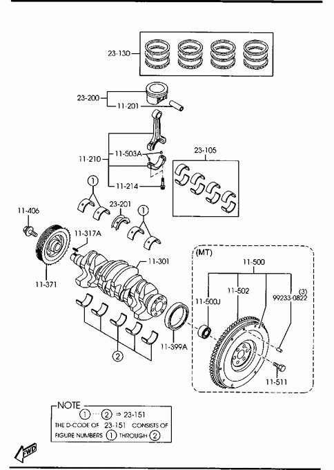
» 11201 PIN,PISTON Part Number Qty. Specifications Price ZJ0111201 4 1300 ZY0111201 4 1600 » 11210 ROD,CONNECTING Part Number Qty. Specifications Price FS0111210B 4 1600 € 108,48 ZJ0111210 4 1300 € 95,16 » 11214 BOLT,CONNECTING ROD Part Number Qty. Specifications Price KL0111214A 8 1600 € 4,81 ZJ0111214 8 1300 » 11301 CRANKSHAFT Part Number Qty. Specifications Price B57311300C 1 1300 € 792,24 Z60111300 1 1600 € 814,91 » 11317A KEY Part Number Qty. Specifications Price ZJ0111317 1 € 4,30 » 11371 PULLEY,CRANKSHAFT Part Number Qty. Specifications Price ZJ0811400 1 AN (ZJ08-11-400B)
1300
- 060707
BK1*** -533343ZJ0811400B 1 1300
060707 -
BK1***533343-ZY0811400 1 AN (ZY08-11-400B)
1600
- 060714
BK1*** -535353ZY0811400B 1 1600
060714 -
BK1***535353-€ 90,49 » 11399A SEAL,OIL-CRANKSHAFT Part Number Qty. Specifications Price BP0511312 1 € 24,47 » 11406 BOLT,LOCK-C.SHAFT PULLEY Part Number Qty. Specifications Price B3C711406 1 € 9,33 » 11500 WHEEL,FLY Part Number Qty. Specifications Price Z60111500A 1 MANUAL TRANSMISSION € 358,55 » 11500J BEARING,BALL-FLY WHEEL Part Number Qty. Specifications Price FE2H11303 1 MANUAL TRANSMISSION € 16,96 » 11502 GEAR,RING-FLY WHEEL Part Number Qty. Specifications Price B36711502 1 YOSHIWA
MANUAL TRANSMISSION€ 71,59 » 11503A PIN,KNOCK Part Number Qty. Specifications Price J50111219 8 € 1,42 » 11511 BOLT,LOCK-FLYWHEEL Part Number Qty. Specifications Price F20111511A 6 MANUAL TRANSMISSION € 3,41 » 23105 METAL SET,CONN.ROD Part Number Qty. Specifications Price ZJY211SE0 1 STD
1300ZJY211SF0 1 O.S 0.25
1300ZJY211SFX 1 O.S 0.50
1300ZYY211SE0 1 STD
1600€ 74,04 ZYY211SF0 1 O.S 0.25
1600ZYY211SFX 1 O.S 0.50
1600€ 44,31 » 23130 RING SET,PISTON Part Number Qty. Specifications Price ZJY211SC0 1 STD
1300
- 070301
BK1*** -605425ZJY411SC0 1 STD
1300
070301 -
BK1***605425-ZYY211SC0 1 STD
1600€ 112,97 » 23151 METAL SET,MAIN BRG. Part Number Qty. Specifications Price ZJY211SG0 1 STD € 55,58 ZJY211SH0 1 O.S 0.25 ZJY211SHX 1 O.S 0.50 » 23200 PISTON SET Part Number Qty. Specifications Price Z6Y111SA0B 4 1600 € 80,26 ZJY211SA0A 4 STD
1300
- 070212
BK1*** -599243ZJY411SA0 4 STD
1300
070212 -
BK1***599243-» 23201 METAL SET,THRUST Part Number Qty. Specifications Price ZJY111SJ0 1 STD ZJY111SK0 1 O.S 0.25 » 99220 PIN Part Number Qty. Specifications Price 992330822 1 € 1,17

