|
- Parts > Mazda E2000 > 1999-08 > Chassis Piping & Fuel Tank > Clutch Release & Master Cylinders(manual Transmission)
- Search by part number:
-
Clutch Release & Master Cylinders(manual Transmission)
-
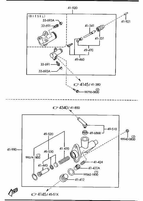
» 33691 SCREW,BLEEDER Part Number Qty. Specifications Price GA5R33691 1 D=7MM € 5,65 » 33693A CAP,BLEEDER SCREW Part Number Qty. Specifications Price 025933693 1 € 2,79 » 41331 BOOT Part Number Qty. Specifications Price H00541331 1 € 4,10 » 41341 ROD,PUSH Part Number Qty. Specifications Price 188141341A 1 DIESEL € 9,01 S08941341 1 GASOLINE € 9,59 » 41412 BOLT,JOINT Part Number Qty. Specifications Price W00141412 1 € 5,54 » 41422A PISTON,O.W.VALVE Part Number Qty. Specifications Price 081341422D 1 € 15,08 » 41424 SPRING,O.W.VALVE Part Number Qty. Specifications Price S00841424 1 € 3,04 » 41440 PISTON Part Number Qty. Specifications Price B31241440 1 € 12,05 » 41470 SPRING Part Number Qty. Specifications Price B31241470 1 € 3,30 » 41920 CYL.,CLUTCH RELEASE Part Number Qty. Specifications Price H11541920 1 AN (H115-41-920A)
GASOLINE
- 070701
SK**** -124034€ 82,94 H11541920A 1 GASOLINE
070701 -
SK****124034-S09341920A 1 AN (S093-41-920B)
DIESEL
- 070701
SK**** -124034€ 82,94 S09341920B 1 DIESEL
070701 -
SK****124034-» 41921 CAP Part Number Qty. Specifications Price S09L41921 1 GASOLINE » 41990 CYL.,CLUTCH MASTER Part Number Qty. Specifications Price S47P41400 1 A (S47P-41-400A)
- 000501
SK**** -102722
SL**** -102719€ 91,33 S47P41400A 1 000501 -
SK****102722-
SL****102719-€ 93,16 » 49460 PARTS KIT,INNER Part Number Qty. Specifications Price FB0149460 1 011101 -
SK****109008-
SL****108963-€ 23,82 H00549460 1 AN (FB01-49-460)
- 011101
SK**** -109008
SL**** -108963€ 23,30 » 49470 SEAL KIT Part Number Qty. Specifications Price FB0149470 1 011101 -
SK****109008-
SL****108963-€ 7,85 H00549470 1 - 011101
SK**** -109008
SL**** -108963€ 8,17 » 49510 BUSH SET Part Number Qty. Specifications Price W00149510 1 € 6,82 » 49520 PARTS KIT,INN.-CLUTCH Part Number Qty. Specifications Price B3124152Z 1 € 23,51 » 49530 SEAL KIT Part Number Qty. Specifications Price B3124153Z 1 € 19,40 » 49686B BUSH,ELBOW JOINT Part Number Qty. Specifications Price 083949686A 1 € 2,08 » 90906 NUT,FLANGE Part Number Qty. Specifications Price 999400800 1 € 1,54 » 99560 GASKET Part Number Qty. Specifications Price 995621800 1 € 0,19 » 99571 RING,SNAP Part Number Qty. Specifications Price 995741800 1 € 1,12 » 99756 BOLT,FLANGE Part Number Qty. Specifications Price 997960820 1 € 1,22

