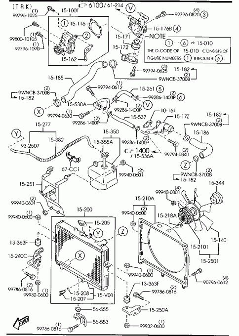
Cooling System |
- Parts > Mazda E2000 > 1999-08 > Diesel-engine Supplement > Cooling System
- Search by part number:
-
Cooling System(diesel)
-
» 10161 GASKET,THERMOSTAT Part Number Qty. Specifications Price RFC610153 1 NON ASBESTOS € 2,95 » 13363F RUBBER,INSULATION Part Number Qty. Specifications Price 022313363 2 € 4,21 » 15010 PUMP,WATER Part Number Qty. Specifications Price R2S215010A 1 AN (R2S2-15-010B)
- 021101
SD1*32 -105780
SR1*32 -108679R2S215010B 1 021101 -
SD1*32105780-
SR1*32108679-€ 99,10 » 15100T HOUSING SET,BRG WATER PUMP Part Number Qty. Specifications Price 8AG215100B 1 € 148,67 » 15116 GASKET,WATER PUMP Part Number Qty. Specifications Price RFB915116 1 NON ASBESTOS € 3,60 » 15140 FAN,COOLING Part Number Qty. Specifications Price RFB315141A 1 € 64,97 » 15162 GASKET Part Number Qty. Specifications Price RFB915162A 1 € 3,32 » 15171 THERMOSTAT Part Number Qty. Specifications Price KL0115171 1 AN (KL01-15-171A)
- 000601
SD1*32 -102173
SR1*32 -103863€ 20,96 KL0115171A 1 000601 -
SD1*32102173-
SR1*32103863-€ 21,81 » 15172 COVER,THERMOSTAT Part Number Qty. Specifications Price RF1G15172B 1 HIROSHIMA ALUMINIUM
- 000401
SD1*32 -101944
SR1*32 -103276€ 22,06 RF1G15172C 1 HIROSHIMA ALUMINIUM
000401 - 010605
SD1*32101944-104288
SR1*32103276-107060RF1G15172D 1 HIROSHIMA ALUMI
010605 -
SD1*32104288-
SR1*32107060-€ 22,95 » 15176B CASE,THERMOSTAT Part Number Qty. Specifications Price R2S2151H0A 1 € 72,69 » 1517Z OUTLET,WATER Part Number Qty. Specifications Price R2S21517ZA 1 € 115,12 » 15182 CLAMP,WATER HOSE Part Number Qty. Specifications Price N3H115182 6 VAN
040401 -
SD1*32105864-
SR1*32108929-€ 4,93 » 15185 HOSE,WATER Part Number Qty. Specifications Price R21A15185 1 A (R21A-15-185A)
VAN
- 990827
SD1*32 -100017
SR1*32 -100015€ 14,33 R21A15185A 1 VAN
990827 -
SD1*32100017-
SR1*32100015-R2S215185 1 TOUKAI GOMU
TRUCK
- 990827
SD1*32 -100017
SR1*32 -100015R2S215185A 1 TOUKAI GOMU
TRUCK
990827 -
SD1*32100017-
SR1*32100015-» 15186 HOSE,WATER Part Number Qty. Specifications Price RFB315186A 1 € 17,02 » 15200 RADIATOR Part Number Qty. Specifications Price R2S215200B 1 AN (R2S2-15-200C)
- 020319
SD1*32 -105686
SR1*32 -108615€ 278,82 R2S215200C 1 A (R2S2-15-200D)
020319 - 030701
SD1*32105686-105812
SR1*32108615-108718€ 278,82 R2S215200D 1 C (R2S2-15-V0X)
030701 - 050301
SD1*32105812-106108
SR1*32108718-€ 278,82 R2S215200E 1 050301 -
SD1*32106108-» 15205 CAP,RADIATOR Part Number Qty. Specifications Price B3C715205 1 DENSO
- 030701
SD1*32 -105812
SR1*32 -108718€ 14,23 FF5215205 1 030701 - 050301
SD1*32105812-106108
SR1*32108718-€ 17,92 RF6C15205 1 050301 -
SD1*32106108-» 15207 COCK,DRAIN Part Number Qty. Specifications Price G60715316 1 USA DENSO € 6,90 » 15208 GASKET,DRAIN COCK Part Number Qty. Specifications Price S21015204 1 € 4,24 » 152101 FAN DRIVE Part Number Qty. Specifications Price R2L115150 1 € 266,86 » 15210A COWLING,RADIATOR Part Number Qty. Specifications Price R2S215210A 1 € 46,71 » 15218A RIVET Part Number Qty. Specifications Price RFB315218A 1 € 1,17 » 15240C BRACKET(R),RADIATOR Part Number Qty. Specifications Price F82A15240A 1 AN (F82A-15-240B)
- 990823
SD1*32 -100017
SR1*32 -100007F82A15240B 1 990823 -
SD1*32100017-
SR1*32100007-€ 12,80 » 152501 FAN & FAN DRIVE Part Number Qty. Specifications Price R2L115140B 1 € 369,59 » 15250A BRACKET(L),RADIATOR Part Number Qty. Specifications Price F82A15251 1 AN (F82A-15-251A)
- 990823
SD1*32 -100017
SR1*32 -100007F82A15251A 1 990823 -
SD1*32100017-
SR1*32100007-€ 6,25 » 15251 BRACKET,SUB TANK Part Number Qty. Specifications Price R2S215370B 1 AN (RF8X-15-370A)
TRUCK
- 070601RF8X15370A 1 TRUCK
070601 -» 15261 HOSE,BYPASS Part Number Qty. Specifications Price R2S215261 1 € 6,73 » 15277 HOSE,WATER SUB TANK Part Number Qty. Specifications Price R21A15380A 1 VAN € 21,20 R2M115380B 1 TRUCK » 15344 PULLEY,FAN Part Number Qty. Specifications Price RFJ515344 1 € 28,48 » 15350 TANK,SUB-RADIATOR Part Number Qty. Specifications Price RFJ515350A 1 A (RFJ5-15-350B)
VAN
- 040401
SD1*32 -105864
SR1*32 -108929€ 72,00 RFJ515350B 1 VAN
040401 -
SD1*32105864-
SR1*32108929-SL0115250A 1 TRUCK » 15355A CAP,SUB TANK Part Number Qty. Specifications Price RFJ515355 1 VAN € 13,35 SL0123990 1 TRUCK » 15382 PROTECTOR,HOSE-SUB TANK Part Number Qty. Specifications Price S21313551 1 TRUCK VS0115382B 1 VAN € 5,89 » 15530A PIPE,WATER-OIL COOLER Part Number Qty. Specifications Price R2S215530A 1 € 19,18 » 15537 HOSE,WATER-OIL COOLER Part Number Qty. Specifications Price R2S215537A 1 € 3,92 » 15V01 CORE,RADIATOR Part Number Qty. Specifications Price R2S215V0X 1 € 269,51 » 56553 BRACKET,RADIATOR Part Number Qty. Specifications Price S08356553A 1 € 6,30 » 56555 BUSH Part Number Qty. Specifications Price S08356555B 1 € 8,60 » 67CC1 CLIP,HARNESS Part Number Qty. Specifications Price BC5A67CC1 1 TRUCK
010501 -
SD1*32104116-€ 1,36 R2P715388 1 TRUCK
- 010501
SD1*32 -104116» 90780 BOLT Part Number Qty. Specifications Price 907960612 1 € 2,61 » 90906 NUT,FLANGE Part Number Qty. Specifications Price 999400600 1 € 1,24 » 90906 NUT,FLANGE Part Number Qty. Specifications Price 999400601 1 € 1,28 » 90906 NUT,FLANGE Part Number Qty. Specifications Price 999400801 1 € 1,64 » 932507 HOSE,WATER Part Number Qty. Specifications Price 9932507000 1 TRUCK € 8,76 » 99134 NUT,CAP Part Number Qty. Specifications Price 999320600 1 € 2,55 » 99175 SCREW,TAPPING Part Number Qty. Specifications Price 997860816 1 € 1,73 » 99281 CLAMP,HOSE Part Number Qty. Specifications Price 992861400P 1 € 2,44 » 99281 CLAMP,HOSE Part Number Qty. Specifications Price 9WNCB3700B 1 € 3,12 » 99756 BOLT,FLANGE Part Number Qty. Specifications Price 997940612 1 € 0,87 » 99756 BOLT,FLANGE Part Number Qty. Specifications Price 997940625 1 € 1,03 » 99756 BOLT,FLANGE Part Number Qty. Specifications Price 997940630 1 € 1,18 » 99756 BOLT,FLANGE Part Number Qty. Specifications Price 997940840 1 € 2,06 » 99756 BOLT,FLANGE Part Number Qty. Specifications Price 997960820 1 € 1,22 » 99756 BOLT,FLANGE Part Number Qty. Specifications Price 997961020 1 € 2,43 » 99756 BOLT,FLANGE Part Number Qty. Specifications Price 997961090 1 € 2,51 » 99756 BOLT,FLANGE Part Number Qty. Specifications Price 9980010105 1 € 2,78

