|
- Parts > Mazda 626WAGON > 1989-10 > Chassis Axle Suspension & Brake & Steering > Rear Drive Shaft(4wd)
- Search by part number:
-
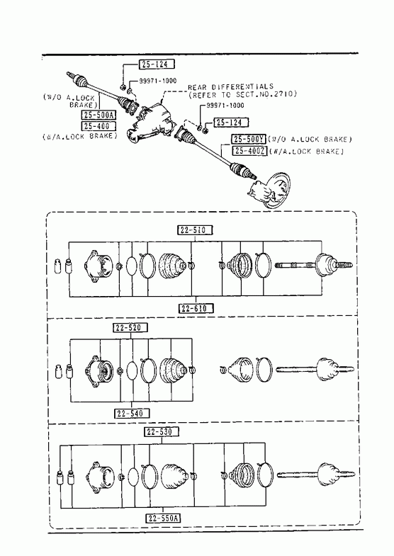
Rear Drive Shaft(4wd)
-
» 22510 JOINT SET(R),OUTER Part Number Qty. Specifications Price G08122510A 1 W/O A.LOCK BRAKE € 327,16 G08222510 1 W/A.LOCK BRAKE » 22520 JOINT SET,INNER Part Number Qty. Specifications Price G08122520 2 € 228,83 » 22530 BOOT SET,OUTER JOINT Part Number Qty. Specifications Price G08122530 2 € 50,90 » 22540 BOOT SET,INNER JOINT Part Number Qty. Specifications Price G08122540 2 € 42,21 » 22550A CLIP SET,DRIVE SHAFT Part Number Qty. Specifications Price G08122550 2 € 47,82 » 22610 JOINT SET(L),OUTER Part Number Qty. Specifications Price G08122610A 1 W/O A.LOCK BRAKE € 336,98 G08222610 1 W/A.LOCK BRAKE » 25124 NUT Part Number Qty. Specifications Price 136825124 8 € 2,18 » 25400 SHAFT(R),DRIVE Part Number Qty. Specifications Price G08225500 1 A (G082-25-50X)
W/A.LOCK BRAKE€ 477,89 » 25400Z SHAFT(L),DRIVE Part Number Qty. Specifications Price G08225600 1 A (G082-25-60X)
W/A.LOCK BRAKE€ 477,89 » 25500A SHAFT(R),DRIVE-RR Part Number Qty. Specifications Price G08125500A 1 W/O A.LOCK BRAKE » 25500Y SHAFT(L),DRIVE-RR Part Number Qty. Specifications Price G08125600A 1 W/O A.LOCK BRAKE » 99971 WASHER,SPRING Part Number Qty. Specifications Price 999711000 1 € 0,51

