|
- Parts > Mazda 323 > 1989-06 > Body Interior Trim > Air Conditioning Cooling Unit
- Search by part number:
-
Air Conditioning Cooling Unit
-
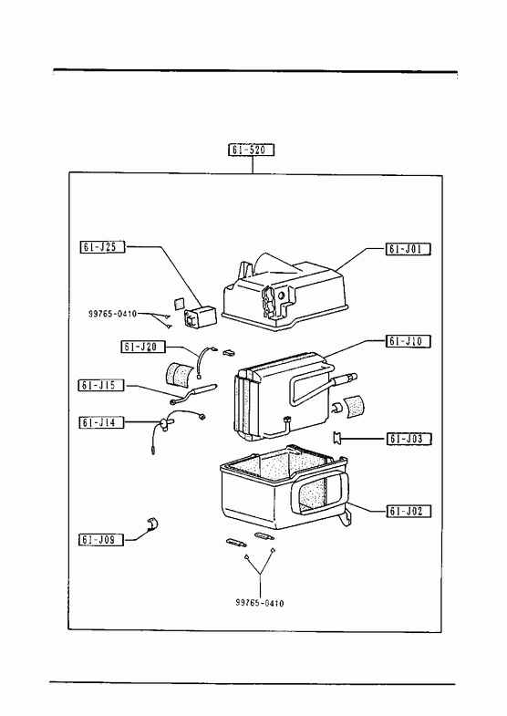
» 61520 UNIT,COOLING Part Number Qty. Specifications Price BS0661520 1 AN (BS06-61-520A)
- 900108
BG**** -184423BS0661520A 1 AN (BS06-61-520B)
900108 - 900301
BG****184423-202458BS0661520B 1 900301 -
BG****202458-€ 1307,18 » 61J01 CASE'A',COOLING UNIT Part Number Qty. Specifications Price BS0661J01 1 € 40,09 » 61J02 CASE'B',COOLING UNIT Part Number Qty. Specifications Price BS0661J02 1 € 40,09 » 61J03 CASE'C',COOLING UNIT Part Number Qty. Specifications Price BS0661J03 1 € 3,31 » 61J09 CLIP,COOLING UNIT Part Number Qty. Specifications Price B45561J09 7 € 3,32 » 61J10 EVAPORATOR Part Number Qty. Specifications Price BS0661J10A 1 € 386,94 » 61J14 VALVE,EXPANSION Part Number Qty. Specifications Price B45561J14 1 € 100,99 » 61J15 PIPE,COOLING UNIT Part Number Qty. Specifications Price BS0661J15 1 € 48,31 » 61J20 THERMOSTAT,COOLING UNIT Part Number Qty. Specifications Price B45561J20 1 € 13,41 » 61J25 AMPLIFIER,THERMO Part Number Qty. Specifications Price B45561J25 1 AN (B455-61-J25A)
- 900301
BG**** -202458B45561J25A 1 900301 -
BG****202458-€ 94,33 » 99175 SCREW,TAPPING Part Number Qty. Specifications Price 997650410 1

