|
- Parts > Mazda 121 > 1989-04 > Body Interior Trim > Floor Mats & Pads
- Search by part number:
-
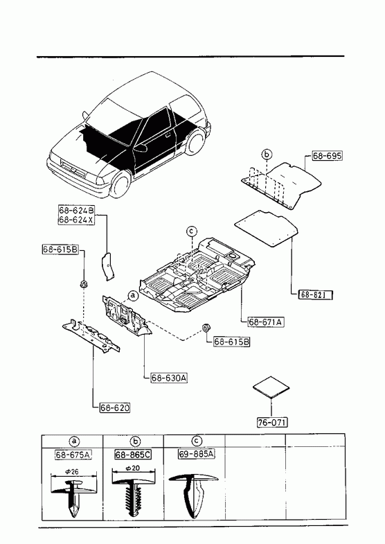
Floor Mats & Pads
-
» 68615B NUT,FLANGE-CAP Part Number Qty. Specifications Price B10068615 6 € 0,93 » 68620 INSULATOR,DASHBOARD Part Number Qty. Specifications Price DA016861XB 1 891001 -
DA13**207799-DA576861XA 1 - 891001
DA13** -207799» 68624B COVER(R),HOLE-DASH. INSU. Part Number Qty. Specifications Price D00168622 1 € 2,21 » 68624X COVER(L),HOLE-DASH. INSU. Part Number Qty. Specifications Price D00168623 1 € 2,09 » 68630A INSULATOR,DASHBOARD Part Number Qty. Specifications Price DA5768621B 1 € 96,55 » 68671A MAT,FLOOR Part Number Qty. Specifications Price DA0768671C 1 (W/O RR HEATER DUCT>UNWOVEN CLOTH) DA1468671C 1 (W/RR HEATER DUCT>UNWOVEN CLOTH) DA1568671C 1 (W/O RR HEATER DUCT>UNWOVEN CLOTH-VELOUR) DA1668671C 1 (W/RR HEATER DUCT>UNWOVEN CLOTH-VELOUR) » 68675A FASTENER Part Number Qty. Specifications Price B10168865 2 € 1,08 » 68695 MAT,TRUNK ROOM Part Number Qty. Specifications Price DA066881X 1 ECE
(W/O RR SEAT BELT>UNWOVEN CLOTH)DA076881XA 1 ECE
(W/O RR SEAT BELT>UNWOVEN CLOTH-VELOUR)DA156881X 1 ECE
SWITZ.
(W/RR SEAT BELT>UNWOVEN CLOTH)DA166881XA 1 ECE
SWITZ.
(W/RR SEAT BELT>UNWOVEN CLOTH-VELOUR)DA426881X 1 UNWOVEN CLOTH
SWDDA436881XA 1 UNWOVEN CLOTH-VELOUR
SWD» 68821 BOARD(C),TRUNK Part Number Qty. Specifications Price D0016882XA 1 A (D001-68-82XB)
- 890801
DA13** -205088€ 31,90 D0016882XB 1 890801 -
DA13**205088-€ 32,87 » 68865C FASTENER Part Number Qty. Specifications Price G03268865A 7 » 69885A FASTENER Part Number Qty. Specifications Price 086669885A 4 € 1,15 » 76071 SILENCER,FLOOR Part Number Qty. Specifications Price 020876071 1 30CMX30CM
- 891001
DA13** -207799€ 6,42

